G211R3C1-M30AA2

Bomba sumergible con certificación ATEX, motor seco y cámara de aceite protectora

Seguridad certificada para bombeo en atmósferas explosivas

G211R3C1-M30AA2 es una electrobomba sumergible trifásica especialmente diseñada para el bombeo de aguas residuales o fluidos con sólidos en zonas clasificadas como potencialmente explosivas. Su construcción incorpora un motor a seco y una cámara de aceite entre la parte hidráulica y el motor eléctrico, garantizando una protección extra frente a infiltraciones, así como una larga vida útil del equipo.

Gracias a su certificación ATEX, esta bomba es ideal para entornos industriales complejos donde se requiere el máximo nivel de seguridad, como plantas químicas, refinerías, zonas con gases inflamables o instalaciones con riesgo de atmósfera explosiva.

Características principales

  • Bomba sumergible con certificación ATEX para atmósferas explosivas

  • Motor seco con cámara de aceite interpuesta para protección reforzada

  • Alta resistencia frente a fluidos con sólidos en suspensión

  • Diseño robusto para uso continuo en condiciones exigentes

  • Apta para industrias químicas, petroquímicas, depuradoras y otras zonas ATEX

  • Funcionamiento fiable y mantenimiento optimizado

Accesorios

Collares de baja succión, ánodos de zinc, reguladores de nivel, arrancadores, flotadores, conexiones en tándem, acoplamientos, etc.

Especificaciones técnicas
Tipo de bomba
Eléctrica sumergible
Clasificación
IP 68
Cable
10 m
Descarga
DN 80 mm
Fuente de alimentación
3pH 400/690V-50hz
Temperatura máx. del líquido
45°C
Detalles de funcionamiento
Potencia hidraúlica absorbida (kw)
7,1
Potencia máxima absorbida (kw)
7,5
Conexión de descarga
3”
Velocidad del eje (r.p.m.)
2842
Corriente nominal
13,5
Paso de sólidos (mm)
30
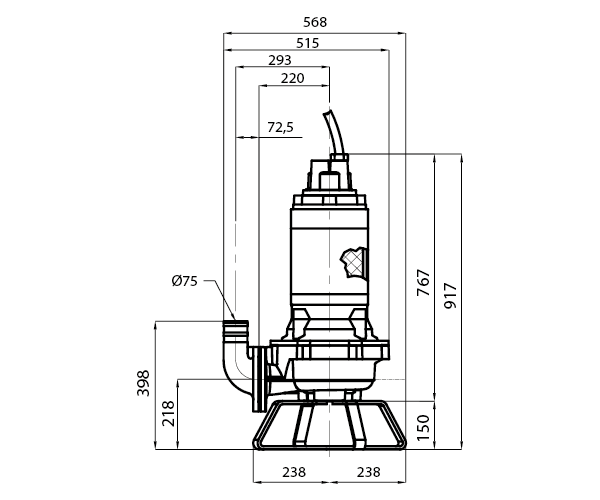
Altura (mm)
917
Diámetro (mm)
568
Peso (kg)
150
Materiales
Piezas fundidas
Hierro fundido
Eje del motor
Acero inoxidable

Fiabilidad asegurada en cada detalle

Contamos con soluciones robustas y fiables para proyectos que requieren máxima eficiencia y continuidad operativa. Nuestros productos están preparados para entornos industriales exigentes y se entregan con todos los accesorios necesarios para garantizar un funcionamiento seguro y sin contratiempos.

Pregúntanos por disponibilidad y compatibilidades.